Der EMKA Hebelzylinder FORT F 43 ist ein hochwertiger Schließzylinder, der sich durch eine robuste Bauweise und eine präzise Schließmechanik auszeichnet. Er wurde speziell für den Einsatz in sicherheitssensiblen Bereichen wie Spinden, Stahlschränken und Stahlmöbeln konzipiert – ideal, um höchste Sicherheitsstandards in privaten und gewerblichen Anwendungen zu erfüllen
Funktionsweise und Vorteile
Der Zylinder überzeugt durch ein intuitives Bedienkonzept: Beim Umlegen des Hebels wird der definierte Schließweg von 180° exakt realisiert. Dies führt zu einer besonders zuverlässigen Sicherung, da der Mechanismus schnell und präzise greift. Durch die präzise Abstimmung der Mechanik und die hochwertige Verarbeitung bietet der Hebelzylinder nicht nur eine effektive Sicherung, sondern auch einen hohen Bedienkomfort. Serienmäßig werden zudem zwei Schlüssel mitgeliefert, was die praktische Anwendung zusätzlich unterstützt
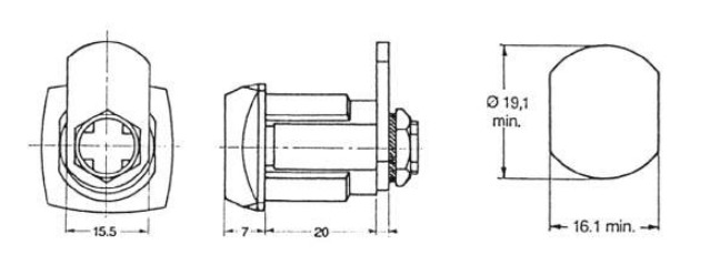
Technische Zeichnung

Schließwege